Оглавление
- Предупреждающие знаки
- Знаки приоритета
- Предписывающие знаки
- Знаки особых предписаний
- Информационные знаки
- Знаки сервиса
- Знаки дополнительной информации (таблички)
Предупреждающие знаки
Знаки приоритета
Предписывающие знаки
Знаки особых предписаний
Информационные знаки
Знаки сервиса
Знаки дополнительной информации (таблички)

Приложение В (обязательное) - Рисунки к правилам применения технических средств организации движения

Рисунок В.1 - Типовое размещение знаков в поперечном профиле дороги: а - вне населенных пунктов; б - в населенных пунктах; в - на обочине в стесненных условиях

Рисунок В.2 -Установка предупреждающих знаков: а - между основным знаком и началом опасного участка имеется перекресток; б - расстояние между перекрестком и опасным участком менее 20 м

Рисунок В.3 - Размещение знаков 1.4.1-1.4.6

Рисунок В.4 - Размещение знаков приоритета на главной дороге: а - в населенном пункте перед перекрестком, на котором главная дорога изменяет направление; б - в конце главной дороги. Пунктиром обозначены знаки, установка которых допускается
(Измененная редакция. Изм. № 1)
(Поправка. ИУС 4-2006)

Рисунок В.5 - Пример расстановки знаков 5.1 и 5.2
Рисунок В.6 - Примеры нанесения разметки на участках дорог с необеспеченной видимостью, где зоны видимости встречного автомобиля: а - перекрываются; б - не перекрываются
Рисунок В.7 - Пример нанесения разметки перед нерегулируемым перекрестком с ограниченной видимостью
Рисунок В.8 - Пример нанесения разметки при уменьшении количества полос для движения в одном направлении
Рисунок В.9 - Пример нанесения разметки на регулируемом перекрестке
Рисунок В.10 - Пример нанесения разметки канализированного пересечения
Рисунок В.11 - Пример разметки участка дороги со специальной полосой для маршрутных транспортных средств

Рисунок В. 12 - Пример нанесения разметки 1.16.1-1.16.3

Рисунок В. 13 - Пример нанесения разметки на площадках, предназначенных для стоянки транспортных средств
Рисунок В. 14 - Пример нанесения разметки в местах остановки маршрутных транспортных средств
Рисунок В. 15 - Пример нанесения разметки на участке съезда с автомагистрали

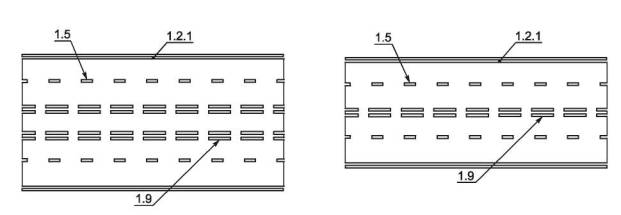
Рисунок В. 16 - Примеры нанесения разметки 1.9
Рисунок В. 17 - Примеры разметки участка дороги на подъезде к железнодорожному переезду
Рисунок В.18 - Пример размещения светофоров и нанесения разметки на регулируемом пешеходном переходе

Рисунок В.19 - Пример нанесения разметки 1.25

Рисунок В.20 - Пример нанесения разметки 2.1 и 2.2
— Регулярная проверка качества ссылок по более чем 100 показателям и ежедневный пересчет показателей качества проекта.
— Все известные форматы ссылок: арендные ссылки, вечные ссылки, публикации (упоминания, мнения, отзывы, статьи, пресс-релизы).
— SeoHammer покажет, где рост или падение, а также запросы, на которые нужно обратить внимание.
SeoHammer еще предоставляет технологию Буст, она ускоряет продвижение в десятки раз, а первые результаты появляются уже в течение первых 7 дней. Зарегистрироваться и Начать продвижение

Рисунок В.21 - Пример нанесения разметки 2.1.1, 2.1.3 и 2.7

Рисунок В.22 - Пример нанесения разметки 2.3-2.7
Рисунок В.23 - Примеры размещения светофоров различных типов и исполнений

Рисунок В.24 - Пример размещения светофоров: а - на перекрестке; б - на разделительной полосе и над проезжей частью
1 - проезжая часть; 2 - укрепительная полоса; 3 - недеформированное ограждение; 4 - деформированное ограждение; 5 - транспортное средство
Рисунок В.25 - Динамический прогиб ограждения
1 - проезжая часть; 2 - укрепительная полоса; 3 - недеформированное барьерное ограждение; 4 - деформированное барьерное ограждение; 5 - парапетное ограждение; 6 - основание ограждения; 7 - массивная опора; 8 - плита мостового сооружения
Рисунок В.26
1 - проезжая часть; 2 - бортовой камень; 3 - недеформированное ограждение; 4 - деформированное ограждение; 5 - подземные инженерные сети; 6 - тротуар; 7 - массивная опора; 8 - бровка земляного полотна или край подпорной стены; 9 - газон; 10 - полоса между тротуаром и бровкой земляного полотна
Рисунок В.27

1 - барьерное ограждение; 2 - парапетное ограждение; 3 - изгиб балки ограждения; 4 - стойка ограждения; 5 - отгон ограждения; 6 - понижение ограждения на начальном и конечном участках; 7 - бровка земляного полотна; 8 - основание; 9 - ось разделительной полосы; 10 - сближение рядов ограждения с осью разделительной полосы; ¬ - направление движения транспортных средств
Рисунок В.28

Рисунок В.29
Рисунок В.30
Приложение Г (справочное)
Разметка дорожная по ГОСТ Р 51256-99 Горизонтальная дорожная разметка

Вертикальная дорожная разметка
Приложение Д (справочное)
Типы и исполнение светофоров по ГОСТ Р 52282-2004 А.1 Транспортные светофоры


